Honda запатентувала розумну систему уникнення аварій для мотоциклів

Honda запатентувала систему допомоги в керуванні для мотоциклів
Honda подала патент на інноваційну систему допомоги в керуванні для мотоцикли, яка може запобігати аваріям. Однак виникає багато питань щодо контролю з боку водія. Ця система, аналогічна до тих, що використовуються в автомобілях, здатна втручатися в напрямок руху транспортного засобу, вважаючи, що насувається небезпека.
Особливості системи
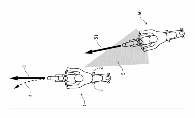
Новий патент описує аварійну систему керування, яка використовує камеру, детекцію сліпих зон та управління кермом для виходу з небезпечної ситуації. Ця технологія будується на базі електроніки, яка вже рятує життя, як-от ABS, контроль тяги та системи запобігання вилетам.
Система Honda працює у двох режимах. Якщо вона визначає, що водій вже реагує на потенційну небезпеку, наприклад шляхом гальмування, вона швидко втручається для корекції руху. Якщо ж вважає, що небезпека не помічена водієм, підсилює допомогу в керуванні, намагаючись уникнути паніки у водія.
Виклики та ризики
На папері система виглядає перспективно, але викликає питання щодо точності та ефективності. Мотоциклісти покладаються на свою здатність до ситуаційного аналізу, яка включає позиціонування, спостереження та планування шляху втечі. Викликає занепокоєння, як ця технологія вплине на судження та контроль водія на дорозі, особливо у випадках неочікуваного втручання системи в управління. Мотоциклісти можуть відчути більшу небезпеку, якщо система керування почне вводити в оману.



