Мото
-

Honda CB1000 Hornet отримала новий гоночний комплект захисту двигуна
Новинка від GB Racing: Комплект захисту двигуна для Honda CB1000 Hornet Мотоцикл року за версією Visordown, Honda CB1000 Hornet, став…
Read More » -

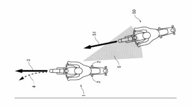
Honda запатентувала розумну систему уникнення аварій для мотоциклів
Honda запатентувала систему допомоги в керуванні для мотоциклів Honda подала патент на інноваційну систему допомоги в керуванні для мотоцикли, яка…
Read More » -

Поліція Італії повернула вкрадені деталі Ducati MotoGP
В Італії поліція виявила вкрадені деталі для перегонів Ducati Італійська поліція знайшла та повернула вкрадені деталі та аксесуари марки Ducati,…
Read More » -

Легендарний мотоцикл Aprilia RS-GP20 Aleix Espargaro виставлено на аукціон
Мотоцикл Aleix Espargaro 2020 року буде продано на аукціоні у Великій Британії Іспанський мотогонщик Aleix Espargaro вирішив виставити свій унікальний…
Read More » -

Ducati Panigale V4 Marquez: лімітована серія потужного та стильного мотоцикла
Обмежена серія Ducati Panigale V4 Marquez відзначає перемогу Маркеса у MotoGP Ducati презентувала нову лімітовану модель Panigale V4 Marquez на…
Read More » -

Новітній концепт Honda EV Outlier: інновації у світі електробайків
Новий концептуальний електробайк Honda EV Outlier: дизайн і технології Концепт Honda EV Outlier інтригує своїм незвичайним дизайном та новаторськими підходами,…
Read More » -

Інноваційний електромобіль від WATT та Donut Lab: нові горизонти ефективності
Нові електромобілі з унікальним шасі та двигунами у колесах привертають увагу на CES 2026 WATT Electric Vehicle Company, британський стартап,…
Read More » -

Harley-Davidson проводить значні зміни у керівництві
Ключові зміни в керівництві Harley-Davidson для успішного 2026 року Harley-Davidson здійснила низку важливих кадрових змін перед другим етапом презентації моделей…
Read More » -

Honda та Mizuno представлять об’єднану гоночну форму в 2026 році для MotoGP та F1
Honda готується до значних змін у гоночній формі в 2026 році Honda Racing Corporation (HRC) та компанія Mizuno Corporation об’єднають…
Read More » -

Triumph розширює серію 400 новими моделями Tracker та Thruxton
Нові Triumph 400: поява моделі Tracker і повернення Thruxton Triumph продовжує дивувати своїх прихильників, доповнюючи свою лінійку 400 новими моделями…
Read More »









